2025-12-02
GB/T5654-2007工频介电常数介质损耗测试仪(液体)为一体化结构,内置介损测试电桥,可变频调压电源,升压变压器和SF6高稳定度标准电容器。测试高压源由仪器内部的逆变器产生,经变压器升压后用于被试品测试。仪器是发电厂、变电站等现场或实验室测试各种高压电力设备介损正切值及电容量的高精度测试仪器。频率可变为50Hz、47.5Hz\52.5Hz、45Hz\55Hz、60Hz、57.5Hz\62.5Hz、55Hz\65Hz,采用数字陷波技术,避开了工频电场对测试的干扰,从根本上解决了强电场干扰下准确测量的难题。同时适用于全部停电后用发电机供电检测的场合。该仪器配以绝缘油杯加温控装置可测试绝缘油介质损耗。
设备技术参数:
1 | 使用条件 | -15℃∽40℃ | RH<80% | ||
2 | 抗干扰原理 | 变频法 | |||
3 | 电 源 | AC 220V±10% | 允许发电机 | ||
4 | 高压输出 | 0.5KV∽10KV | 每隔0.1kV | ||
精 度 | 2% | ||||
电流 | 200mA | ||||
容 量 | 2000VA | ||||
5 | 自激电源 | AC 0V∽50V/15A | 50HZ、60HZ单频 45HZ/55HZ 47.5HZ/52.5HZ 55HZ/65HZ 57.5HZ/62.5HZ 自动双变频 | ||
6 | 分 辨 率 | tgδ: 0.001% | Cx: 0.001pF | ||
7 | 精 度 | △tgδ:±(读数*1.0%+0.040%) | |||
△C x :±(读数*1.0%+1.00PF) | |||||
8 | 测量范围 | tgδ | 无限制 | ||
C x | 15pF < Cx < 300nF | ||||
10KV | Cx < 40 nF | ||||
5KV | Cx < 150 nF | ||||
1KV | Cx < 300 nF | ||||
CVT测试 | Cx < 300 nF | ||||
9 | 外型尺寸(主机)(mm) | 350(L)×270(W)×270(H) | |||
外型尺寸(附件箱)(mm) | 350(L)×270(W)×160(H) | ||||
10 | 存储器大小 | 200 组 支持U盘数据存储 | |||
11 | 重量(主机) | 22.75Kg | |||
重量(附件箱) | 5.25Kg | ||||
GB/T 5654-2007液体绝缘材料相对电容率、介质损耗因数和直流电阻率的测量
前言
本标准等同采用IEC60247:2004《液体绝缘材料相对电容率、介质损耗因数和直流电阻率的测量》(英文版)。
为便于使用,本标准做了下列编辑性修改。
a)用小数点符号‘.’代替小数点符号‘,’;
b)“本国际标准”一词改为“本标准”;
本标准代替GB/T 5654-1985《液体绝缘材料工频相对介电常数、介质损耗因数和体积电阻率的测量》。
本标准与GB/T 5654-1985相比主要变化如下:
a)本标准增加了“引言”及“规范性引用文件”章节;
b)在直流电阻率测量中,将“试验电压使液体承受200 V~300V/mm……”改为“试验电压应使液体承受250V/mm……”;将电化时间“60s”改为“60 s±2 s”;将“注试样15min后开始测量”改为“不超过10min开始测量”;
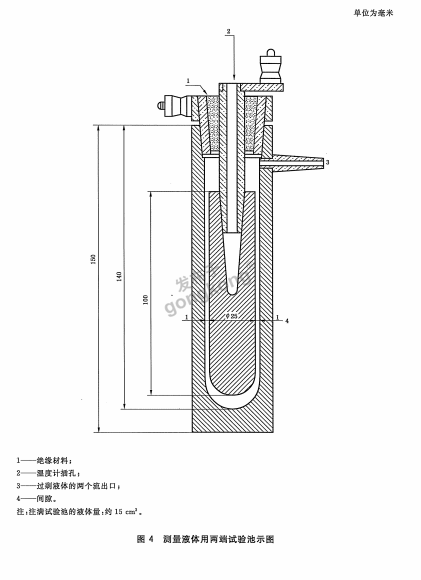
c)本标准增加了图2、图3、图4、图 5。
本标准的附录A、附录B、附录C为资料性附录。本标准由中国电器工业协会提出。
本标准由全国绝缘材料标准化技术委员会(SAC/TC51)归口,本标准起草单位:桂林电器科学研究所。
引言
健康和安全:
警告:本标准不涉及所有与使用有关的安全问题,使用本标准的人员有责任建立合适的健康与安全规则,并在使用之前确定受规则限制的适用范围。
环境:
本标准会导致产生某些绝缘液体、化学品、使用过的样品容器和油污染固体等问题,对这些物品的处置应按相关法规进行,以减少对环境的影响和危害,并应作好一切预防措施以防止这些液体因遗弃而污染环境。
液体绝缘材料相对电容率、介质损耗因数和直流电阻率的测量
1范围
本标准规定了在试验温度下液体绝缘材料的介质损耗因数,相对电容率和直流电阻率的测量方法。本标准主要是对未使用过的液体做参考性试验,但也适用于在运行中的变压器,电缆和其他电工设备中的液体。然而,本标准只适用于单相液体,当做例行测量时可以采用简化方法和附录C所述的方法。
对于非碳氢化合物绝缘液体,则要求采用其他清洗方法。
2规范性引用文件
下列文件中的条款通过本标准的引用而成为本标准的条款。凡是注日期的引用文件,其随后所有的修改单(不包括勘误的内容)或修订版均不适用于本标准,然而,鼓励根据本标准达成协议的各方研究是否可使用这些文件的最新版本。凡是不注日期的引用文件,其最新版本适用于本标准。
GB/T1409-2006固体绝缘材料在工频、音频、高频(包括米波波长在内)下电容率和介质损耗因数的推荐方法(IEC 60250:1969,MOD)
GB/T 1410-2006固体绝缘材料体积电阻率和表面电阻率试验方法(IEC60093;1980,IDT)GB/T 21216-2007绝缘液体测量电导和电容确定介质损耗因数的试验方法(IEC 61620:1998,
IDT)
IEC 60475液体电介质取样方法
3术语和定义
下列术语和定义适用于本标准。
3.1
(相对)电容率permittivity(relative)
绝缘材料的相对电容率是一电容器的两电极周围和两电极之间均充满该绝缘材料时所具有的电容量C.与同样电极结构在真空中的电容量C之比。
用该电极在空气中的电容量C.代替C。,对于测量相对电容率具有足够的精确度。
3.2
介质损耗因数(tan?)dielectric dissipation factor (tano)
绝缘材料的介质损耗因数(tand)是损耗角的正切。
当电容器的介质仅由一种绝缘材料组成时,损耗角是指外施电压与由此引起的电流之间的相位差偏离π/2的弧度。
注:实际应用中,tan8测得值低于0.005时,tan8和功率因数(PF)基本上相同。可用一个简单的换算公式将两者进
行换算。功率因数是损耗角的正弦,功率因数和介质损耗因数之间的关系可表达为下式:

式中:
PF一功率因数
tan 8介质损耗因数。
3.3
直流电阻率(体积)d.c.resistivity(volume)
绝缘材料的体积电阻率是在材料内的直流电场强度与稳态电流密度的比值。注:电阻率的单位是欧姆米(Ω.m)。
4概述
电容率、tan8和电阻率,无论是单一还是全部,都是绝缘液体的而有质量和污染程度的重要指标。这些参数都可用于解释所要求的介电特性发生偏离的原因,也可解释其对于使用该液体的设备所产生的潜在影响。
4.1 电容率和介质损耗的数。
电气绝缘液体的电容营部分质损粕因数(tane)在相当大程度上取决于试验条件,特别是温度和施加电压的频率,电容车在工频和足够高下与的的人杆,对务是无依的归于液体中和介质损耗因数都是介质极化和材料电导的度量.自由载流子的存在,测量高纯净绝缘液体的介电特性,对判别电离杂质的存在很有价值。介质损耗与测量频率成反比,且随介质粘度的变化而变化、试验电压值对测量损耗因数影响不大,它通常只是受电桥的关敏度所限制,但是(应考虑到高的电场强度会引起电极的二次救应、介质发热、放电等影响。较大的杂质所北Z的电容率的变化相对较小,而其介质损耗则强烈地受极小量的可电离溶解杂质
或胶体微粒的影响,性还导致它有较高
些液体有较大的极性,所以对杂质的敏感性较之碳氢化合物液体要强得多。极的陪解和电离的能力,因此在操作时要比对碳氢化合物液体更应小心。通常认为初始值能较好地代表液体的实际状态,所以更希望能在一达到温度平衡时就测量介质损数对温度的变化很敏感,通常是随温度的增加成指数式的增大,因此需要在足够精下面所述的方法使试样温度在很短的时间内达到与试验池平衡。
耗因数,介质损耗因确的温度条件下进行订基
4.2电阻率
用本标准的方法测得的电阻率通常并不是真正的电阻率。当施加直流电压后,由于电荷迁移,将使液体的起始特性发生随时间而变化。真正的电阻率只有在低电压下且在刚施加电压后才可得到。本标准使用比较高的电压且经较长时间,因此,其结果通常是与GB/T21215-2007所得到的不同。本标准中液体的电阻率测量结果与试验条件有关,主要有:
a)温度
电阻率对温度的变化特别敏感,是按1/K指数变化。因此需要在足够精确的温度条件下进行测量。
b)电场强度的值
给定试样的电阻率可受施加电场强度的影响。为了获得可比的结果,应在近似相等的电压梯度下进行测量,并应在相同极性下进行,此时应注明其梯度值和极性。
e)电化时间
当施加直流电压时,由于电荷向两电极迁移,流经试样的电流将逐渐减少到一极限值。一般规定电化时间为1min,不同的电化时间可导致试验结果明显不同[某些高粘度的液体可能需要相当长的电化时间(见14.2)]。
4.3测量次序
将直流电压施加在试样上,会改变其随后测量的工频tan8的结果。
当在同一试样上相继测量电容率、损耗因数和电阻率时,工频下测量应在对试样施加直流电压以前进行。工频试验后,应将两电极短路1min后再开始测量电阻车。
4.4导致错误结果的因素
虽然只有严重污染才会影响电容率。但徽量的污染却能强烈地影响tan♂和电阻率。不可靠的结果通常是由于不适当的取样或处理试样所造成的污染、由未洗净试验池或吸收了水份,特别是存在不溶解的水份所引起。
在贮藏期间长久暴露在强光线下会导致电介质劣化,采用所推荐液体样品贮存和运输以及试验池的结构和净化的标准化程序,可使由污染引起的误差减至最小。
5仪器
5.1试验池
同一试验池可用来测量电容率、介质损耗因数和直流电阻率。适合于这些用途的试验池应符合如下要求。
5.1.1试验池应设计成能容易拆洗所有的部件,并易于重新装配而不致明显地改变空池的电容量。同时试验池还应能在所要求的恒定温度下使用,并提供以所需精确度来测量和控制液体温度的方法。外加热的炉(或浴)或内部电加热的试验池都可以使用,
5.1.2用来制造试验池的材料应是无气孔的,并能经受所要求的温度,电极的中心对准应不受温度变化的影响。
5.1.3与被试液体接触的电极表面应抛光如值面,以便清洗容易。液体和电极之间应没有相互的化学作用,它们也不应受清洗材料的影响。用不锈钢制造的试验池(电极)对试验所有类型的绝缘液体都是适用的,不应使用铝和铝合金做电极,因为它们会被碱性的洗净剂腐蚀。
注:通常在表面上电镀不如一种金属制成的电极好。但表面镀金,镍或铑,只要就得好并保持光好无损也可瞒意地使用。殷钢镀铑电极较好且具有较低热膨胀的优点。也可采用在黄钢上镀镍或金和在不锈钢上螳镍的电极。5.1.4用来支撑电极的固体绝缘材料应具有较低的介质损耗因数和较高的电阻率,这些固体绝缘材料不应吸收参照液体、被试液体以及清洗材料,也不应受它们的影响。
注:通常认为熔酗石英是用作试睑池合近的皓缘材料,由于普通金属和石英的鸠膨胀系数不同,它们接合面之间需
要具有充分的径向间隙。但应注意到这间隙会减小电极间距的精度。
5.1.5保护电极和测量电极之间横跨液面及固体绝缘材料的距离应足够大,以便能承受施加的试验
电压,
5.1.6符合5.1.1到5.1.5要求的任何试验池均可使用,用于低装度液体和施加电压不超过2000V
的试验池见图1一图5。
三端试验池提供了足以屏蔽测量电极的有效保护电极系统。当进行极精密的电容率测量时应选择三端试验池。在这种测量中,如有必要,还要求加上一个可拆卸的特殊屏蔽环,并与连接测量电极和电
桥的同轴电缆的外层导体(屏蔽)相连接(见图2)。
在用两端试验池时,引线屏蔽层通常是接到保护电极的。为了防止屏蔽层同任何其他表面接触,应将它牢牢地夹在电缆的绝缘层上。当用这样的试验池测量电阻率时,空池的绝缘撑环的电阻至少是被测液体电阻的100倍。同样,在交流下测量介质损耗因数也应有相应的比值。
对于较好的绝缘液体,可能由于绝缘撑环附加的损耗而改变测量值,为此,建议使用在两电极间无任何固体绝缘材料支撑的试验池,这样的空试验池的损耗因数在50Hz时应低于10°。
为了使与液体接触表面的污染影响减到最小,建议采用具有电极表面面积与液体体积之比小的试验池,例如小于5/cm。



5.2试验箱
试验箱应能保持其温度不超过规定值的士1℃,并有连接试验池的屏蔽线,试验池应完全与试验箱接地外壳绝缘。
5.3玻璃器皿
应采用由硼硅琥璃做的普遴化学玻璃器皿,例如:烧杯、量筒、滴管等,且用于操作试样的所有玻璃器皿至少都应按第6章规定的标准清洗并仔细干燥。
5.4电容率和损耗因数的测量仪器
只要其测量精度和分辨率适合于被试样品,可采用任何交流电容和介质损耗因数测量仪器,交流电容电桥及试验线路的示例与GB/T 1409-2006中规定一致。
5.5直流电阻率的测量仪器
只要其精度和分辨率适合于被试样品,可采用任何仪器。合适的仪器和试验线路与GB/T 1410--2006中规定一致。
5.6测时器
用于测量电化时间,准确到0.5s。
5.7安全措施
危险警示一一应确保设备的安全装置正常运行。
清洗用溶剂
用于清洗试验池的溶剂应至少是符合工业纯要求的,其对试验结果应无影响,溶剂应贮存在棕色的玻璃瓶里。
如果溶剂是以桶装交货的,应过滤,过滤后的溶剂应贮存在具有标记的茶色玻璃瓶里。
烃类溶剂,例如汽油(沸点60℃~80℃)、正庚烷、环已烷和甲苯,对清洗烃类油是合适的。对于有机酯液体,推荐用酒精清选,对于硅液体,则用甲苯清选。其他的绝缘液体,可能需要专用的溶剂清洗。
由于绝缘液体对极微小的污染的影响都极为敏感,因此测量介电性能时试验池的清洗是最为重要的,
7清洗试验池
在进行参考试验以中定要经常清洗试验性,
在进行例行试验时,会上一次测的液体特性在规定值范围内,且上一次利这次的被测液体的化学
类型相似,就不必清比试验池。但下一次试验前,应用定体积的待测样品至少仲洗试验池三次。
当试验池定期展年试验具有相似化学类型和介电性能的液体时,则用一种清洁的液体样品充满后贮存起来,在下一成速量前用一定体积的苻测样品全少冲洗试验池三次。
可使用许多不同类型的清洗程序,只要它们已被证明是有效的,
在附录AUB中介绍了另外请法程序的实侧,
当实验室之间的争议时,可又用以下清洗程序,
注:使用海剂)山性意着火危险及对人员的有有危害。
7.1磷酸钠盐置程序
完全拆卸试
彻底地洗議所有的组成部件,并更换两次溶剂(兑第6章),用丙酮漂洗所有部件,然后用软性擦皂和洗清剂洗涤.
用5%的磷酸馏水溶液成去离了水溶难点排至少5min,然后用蒸僧水或去高子水漂洗几次。
将所有部件在蒸馆水攻去离于水中煮沸至少30 min。
因为某些材料可能合工化在加热105℃~110℃的烘箱中充分烘干各部件且不超过120min。干燥时间取决于整个试验袍的结构,但通常用60 min~120min已足以除去任何水份。冷却前重新装好试验油“并确保不用裸手接触到其任何将要浸液休的表面,
7.2 试验池的存放
当试验池不用时,推荐使用经常试验且清洁的绝缘液体充调试验池后保存起来。或当试验不同液体时,用对试验池无损害的溶剂充满后保存。
不经常使用试验池时,则应将其清洗,干燥并装配好,存放在干燥无尘的容器里。也可以按照制造商推荐的方法来操作。
8取样
用于这些试验的绝缘液体取样应搜IEC 60475的规定进行。样品应在原先的容器内储存及运输,而且应避光。
9样品制备
除非被试液体的规范中另有规定,否则无需进行过滤、干燥等处理。
当需要预热试样时,在倒出足够的样品用作其他试验时,应尽可能将余下的样品在原来的样品容器里预热,此时,应考虑液体的热膨胀而留有足够的空间,以避免容器破裂。
当试样必须移到其他容器内时,这些容器应是带盖烧杯或带塞子的锥形玻璃烧瓶,并按第7章要求进行清洗。
如果必须在室温下进行试验,则应将原来样晶容器放在将要进行试验的室内,直至样品达到室温。当需在高温下进行试验而试样又不能在试验池内加热时,试样容器或辅助的容器要用塞子塞住,并保证在此容器内有合适的体积足以满足液体的热膨胀,在烘箱里把它加热到高于要求的试验温度5℃~10℃,
由于液体易氧化,因此加热时间应不超过1h。
若必须在一个单独的烘箱内加热液体,为防止污染影响,最好保证一个烘箱只用于一种类型的液体。
为了取到有代表性的试样,在取样之前,应将容器倾斜并缓慢地旋转液体几次,以使试样均匀。用干净的无绒布擦洗容器口,并倒出一部分液体样品擦洗容器的外表面。
10条件处理及试验池充填试样
10.1试验池的条件处理
在洗净并干燥完电极后,注意不要用襟手接触它们的表面,也应注意放置试验池部件的表面要很清洁,试验池上面不要有水燕汽或灰尘,
为了使试验池的清洗程序对随后试验的影响减到最小,很重要的一点是要对干燥清洁的试验池进行预处理,即用下次的被试液体充满试验池两次。对于高粘度液体,可能需要更长时间的预处理。
10.2试验池充填试样
用一部分液体试样刷洗试验池三次,然后倒出并倒掉液体。在剧洗试验池时,若需要取出内电极,应注意防止在任何表面剩回液体,并防止尘粒聚集在试验池的浸液表面。
重新充满试样,注意防止夹带气泡。将装有试样的试验池加热到所需试验温度,每个试验温度所需的时间取决于加热方法,通常可能在10 min~60 min范围,在达到所需试验温度的士1℃时,10min内必须开始测试。
应特别注意防止液体或试验池的各部件与任何污染源相接触。
在一种液体内不呈活性的杂质可能在另一种液体内会因杂质的迁移而呈现活性,因此最好限制一试验池只用于一种类型的液体。
应尽可能地保证周围大气中不存在影响液体质量的水蒸汽或气体。
11试验温度
这些试验方法适合于在一个很宽的温度范围内试验绝缘液体,除非在特定液体的规范中另有规定,一般试验应在90℃下进行。
测量温度的分辨率应在0.25℃以内,
12 介质损耗因数(tam?)的测量
12.1试验电压
通常采用频率 40 Hz~62 Hz的正弦电压。施加交流电压的大小视被试液体而定,推荐电场强度为0.03 kV/mm~1 kV/mm,
注:通常在上述频率范围内,可用下列公式从一个顾率的结果换算成另一个颇率的对应值:

12.2测量
试验池非自动加热,当其温度达到所要求试验温度的士1℃时,应于10min内开始测量损耗因数。在测量时施加电压。完成初次测量后(如果需要,也包括测量电容率和电阻车时),倒出试验液体。再用第二份试样充满试验池,操作程序和第一次相同,但省去限洗。重复测量,两次测得的tan8值之差应不大于0.0001加两个值中较大的25%。
如果不病足上述要求,则继续充填试样测量,直到相邻两次tanò测量值之差不超过0.0001加两个值中较大的25%为止,此时认为测量是有效的,12.3报告
注:只有鉴定tan值较小的产品时才需要重复测量,例行试验不需要重复测量。
报告两次有效测量值的平均值作为试样的损耗因数(tan8)。
报告应包括:
)电场强度
试验温度,
3相对电
13.1测量
首先测量以干燥空气为介质的干净试验池的电容量::然后测量装有已知相对电容率为。的液体的
电容量。按下式电板常数C.和修正电容
S3d
式中:
C.一-电极常数
--+-…-------(3)
*-----(4)
C.一-充有已用相对电容率为c的校电溶液的试验池的电容量;
C,一一以空气行决介质的试验池的电容量,
C修正电
测量装有被试流体的试验池的电容量C并按下式计算相对电容率
ONVIS
式中:
.一被试液体的相对中容率,
C.一一被试液体的电容量:
(5)
C.一一以空气作为介质的试验他的电容量;
C一修正电容。
重复试验,直至相邻两次测试值的差不大于较大值的5%,则认为测量是有效的。注1:如果在测定C。值时已知C.、C和。值,则可获得最高的精度。
注2,当用设计很好并预先校正过的三端试验他时或当精度要求校低时,可以忽略C。项,而相对电容率可按简化公
式计算。
式中,
。一被试液体的相对电容率。
C一被试液体的电容量:
C一裂空气作为介质的试验铀的电容量。
13.2 报告
报告有效测量的平均值作为试样的相对电容率。
报告应包括:
二)试验池的类型及以空气为介质时的电容量:
b)电场强度;
e)施加电压的颇率:
d试验温度。
14直流电阻率的测量
14.1试验电压
除非另有规定,所施加的直流试验电压应使液体承受250V/mm的电场强度。14.2电化时间
通常适宜的电化时间是60s±2s。电化时间的改变可使试验结果有相当大的变化。14.3测量
如果在该试样上已测过损耗因数,则测量电阻率之前应短接两电极60s.如果仅测量电阻率,那么在其温度达到所需试验温度值的士1℃后尽可能快地开始测量,即到温度不超过 10min就开始测量。
连接电极到测量仪器,使试验池的内电极接地。将直流电压加到外电极,在电化时间达到終点时记录电流和电压读数。
挂1,只要符合其他的一些要求(例知:电场强度为250V/mm),也可用读取电阻的仪器。
将试验池的两电极短路5min。倒掉试验池里的液体,从样品中倒出第二份试样重复测量。用下式计算电阻率:
-.---.- ===....+**+**=( 7)
式中:
一电阻率,单位为欧姆米(Ω·m);
U一试验电压读数,单位为伏特(V):
1--电流读数,单位为安培(A);
K一一试验池常数,单位为米(m)。
注2:K值按下式计算:
K-0.113XC,
式中;C.一一以空气作为介质的试验池的电容量:0.113--10-"乘以空气的介电君数的例数。
相邻两次读数之差不应超过两值中较高的35%。如果不满足该要求,则需继续充填试样测量,直到相邻两测量的电阻率值之差不超过两值中较高的35%为止。此时则认为测量是有效的。注3:对每一次充瞒的试样进行施加极性相反电压的第二次测量,可以观察到试验他是否干净和其他现象。必领注意到有些仪器是没有这样的反转开关的,不要用这样的仪器,以免得出有误差的结果。
也可使用自动计算的直接读数的仪器。
14.4报告
报告有效测量结果的平均值作为样品的电阻率。
报告应包括:
a)电场强度;
b)电化时间:
c)试验度。
附录A
(资料性附录)
清洗试验池的另一程序举例一超声波程序法
完全拆卸试验池,
用两份溶剂(见第6章)彻底清洗所有部件。
将所有的试验池部件,包括玻璃和橡皮“O”型环,浸在合适的超声波清洁浴内的溶剂中清洁10min.
将所有部件从浴中取出,用清洁的溶剂清洗。
允许溶剂在无灰尘的环境中自然蒸发,为保证其完全蒸发,可将试验池部件放置在已加热到105℃~110℃的烘箱中干燥且不超过120min,
重新装配试验池时,确保不用裸手接触到任何将要浸液体的表面。
附录B
(资料性附录)
试验池的简易清洗程序举例
尽可能完全拆卸试验池。
首先用丙酮,然后用热自来水冲洗所有部件,接着再用蒸馏水清洗几次。将试验池部件放置在已加热到105℃~110℃的烘箱内充分干燥,因某些材料可能老化,干燥时间
用两份溶剂(见第6章)彻底地清洗所有部件,
不应超过120min.
干燥时间取决于试验池的结构,通常干燥时间在50 min~120 min足以除去任何水份。
评论0